
In a new patent discovered by CarBuzz filed with the Japan Patent Office (JPO), Nissan details a new variable valve timing mechanism for use in a series hybrid system.
That's the type of system used in Nissan's e-Power hybrid vehicles, like the forthcoming Rogue e-Power that will arrive in the US next year.
Specialized Exhaust Cam VVT Addresses EGR Issues With Frequent Engine Deactivation
E-Power, in case you aren't familiar, relies on the combustion engine as a generator, powering electric motors instead of driving the wheels directly. But that means, depending on the power requirements and type of driving you're doing, the combustion engine itself isn't always running. The problem the patent addresses is that when the engine regularly stops and starts, a regular exhaust gas recirculation (EGR) system resets its valve to closed when the engine switches off. When the engine starts again, there's a moment on restart when the engine is pushing fuel that hasn't been burned through the system straight through the exhaust rather than recirculating a portion of exhaust gas back into the intake to burn off any petrol that didn't combust the first time round. This is bad news for emissions testing.
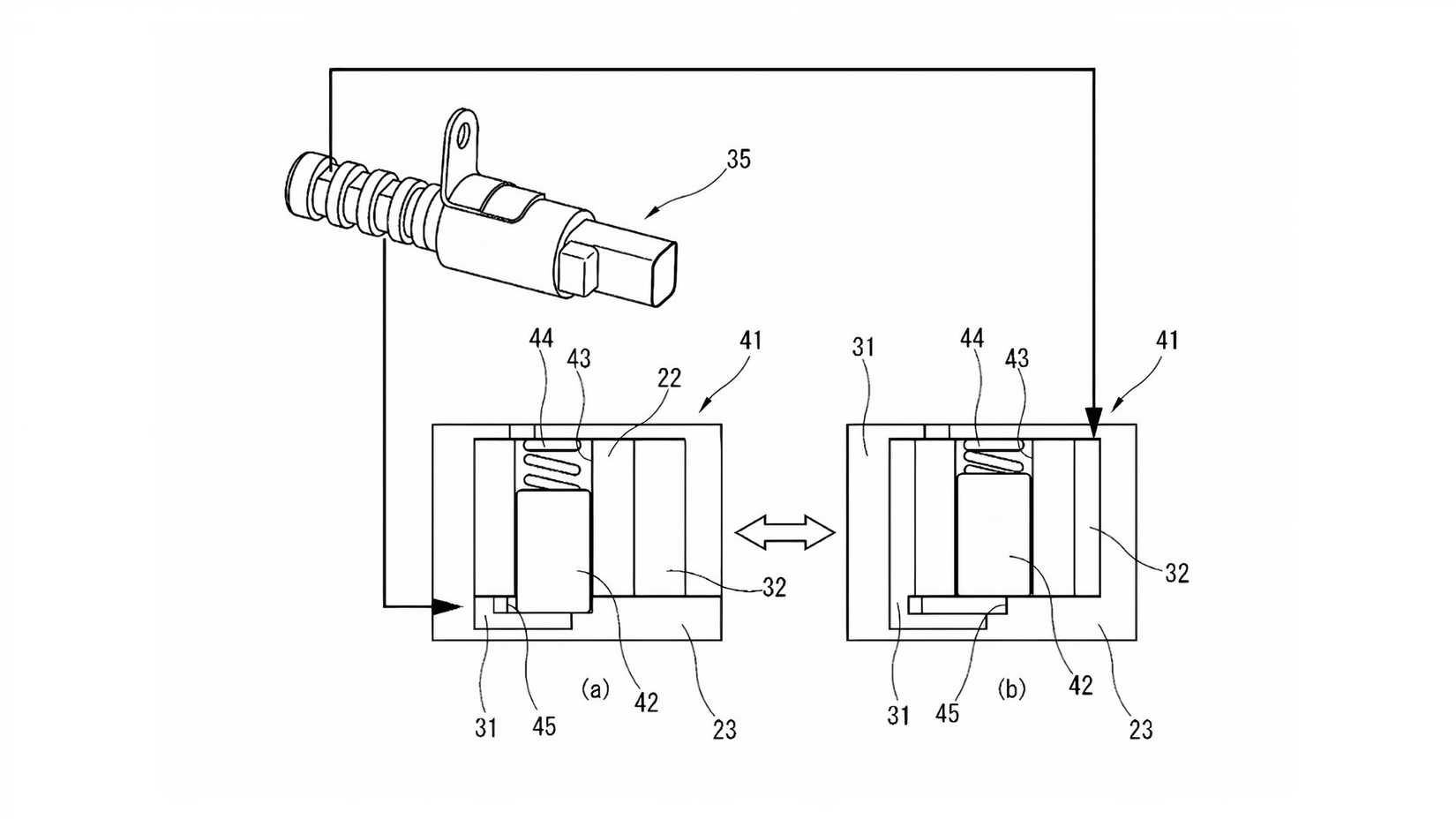
Essentially, the patented system always restarts with the EGR system recirculating due to valve overlap with the engine's variable valve timing (VVT) system. When the engine is running and the oil pressure is up within the VVT actuator, the VVT system maximizes retardation on the exhaust timing, creating maximum permissible overlap between exhaust and intake valve timing. But Nissan's patent describes a locking pin mechanism, which engages the moment the engine is switched off, holding the exhaust timing in this position without the need for oil pressure to do so.
This forces maximum EGR on start-up, particularly when the engine is cold, and achieves the ultimate goal: as complete a burn as possible when cold and heating the catalytic converters quicker to reduce hydrocarbon emissions in the moments post start-up.
Secondary Benefits Are Meaningful Too
While reducing hydrocarbon emissions appears to be the main goal, there are other benefits. The mechanical load on oil pumps is reduced at startup, as they no longer need to pump oil through the VVT system, only through the regular channels within the engine itself. Longer-lasting oil pumps are good for engine life, and not needing to spread engine oil around as much when the motor is cold means the oil pumps can push the oil to where it's needed the most.
But Nissan also suggests this VVT system can be applied to the intake side of the valvetrain, which would have an entirely different effect: smoother restarts.
One of the most common complaints about hybrid cars is the jerkiness of the engine restarting. In a parallel hybrid system, the jerk can often disrupt the smoothness of your drive, while in a series hybrid system like e-Power, it creates harsh vibrations and noise that can be perceived as unpleasant. But when VVT is applied to the intake side, it can decompress the combustion chamber during engine cranking. This results in smoother, quicker engine ignition. The effect is even more pronounced when the car is mostly acting as an electric car, with longer periods between the engine running and being silent and vibration-free.
Not Just Limited To Series Hybrid Systems
The patent is explicitly for a series parallel hybrid system, but in theory, the locking pin mechanism and advancing/retarding valve timing technology could be applied to a regular parallel hybrid system where the engine drives the car as well as the electric motors. It would produce the same benefits – more efficient exhaust gas recirculation and smoother engine restarts. So how does this extend the lifespan of combustion, you ask?
Well, typically, at start-up is when engines tend to emit the most hydrocarbons for the least amount of gain. Cold starting means the engine isn't in its most efficient operating window, heat-wise, and as the ECU tries to rapidly warm the catalytic converters, it's pushing a richer air-fuel mixture into the combustion chamber, much of which is being dumped into the exhaust incompletely burned.
As we shift from the majority of cars on the road being internal combustion only to hybrid, refining the systems for both fuel efficiency and emissions will be important. If Nissan can make the combustion engine as efficient as possible in a hybrid system, it'll reduce the pressure from various governments globally to get rid of the combustion engine altogether. And if governments stop pushing for the end of combustion, it'll mean there's more hope for those of us who like to listen to an engine in action instead of the whirring of electric motors.


Related News